目前手机和路由器厂商在宣传的时候经常都会使用“双频”等概念,我们在连接WiFi网络的时候也经常会看到2.4G和5G的字样,同时许多情况下是否支持5G WiFi也成为了人们是否选择某款手机的重要参考依据。也许在许多人的认知当中,5GHz频段可以全方面碾压2.4GHz频段,但实际情况可能并非如此。那么我们下面就来聊聊路由器的2.4GHz频段和5GHz频段,并讨论一下它们各自有什么优劣,适合在哪种环境当中使用。
按照IEEE 802.11及其改进标准的规定,无线局域网所使用的载波频率分为2.4GHz频段和5GHz频段两部分,每一部分又以一定的频率间隔来划分为若干信道。这些信道被称之为WLAN信道, 每个信道对应的频率实际上是该信道的中心频率。至于信道的使用分配,则由每个国家自己制定政策。与2.4GHz频段相比,5GHz频段的带宽更大,延迟更低,同时网络也更加稳定,那么我们直接把2.4GHz频段去掉不就好了?其实也不尽然,不然现在市面上就不会有那么多的双频路由器了。
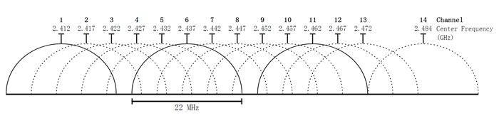
2.4GHz频段可分为14个WLAN信道,除了第14号信道与第13信道间隔了12MHz外,其余每个信道之间的间隔均为5MHz,而IEEE 802.11标准规定,每一个信号都需要占用20MHz(实际上是22MHz)的频宽,相当于5个WLAN信道,因此当无线路由器占用2.4GHz频段的某个信道时,以该信道为中心共计5个WLAN信道都会纳入到该路由器所使用的范围内。举例说明,当路由器占用2.4GHz频段的第4号信道时,其实际上已经占用了第2至第6号共计5个信道,因此在2.4GHz频段下实际占用的信道比需要使用的信道要多出一些,所以2.4GHz频段更加容易占满。
2.4GHz频段
5GHz频段的范围比起2.4GHz无疑要宽广得多,覆盖范围实际上是4.9GHz到5.8GHz,信道的划分也更多样化,不过有一个标准是不变的,那就是信道对应的中心频率提升5MHz,信道的编号就加1,这点与2.4GHz频段信道划分的标准基本一致的。目前支持5GHz频段的无线路由器多数使用的是低36号信道到第165号信道,对应频率为5.17GHz之5.825GHz,单从频道数来说,即使要考虑地区和设备的兼容性问题,5GHz实际可以使用的信道也比2.4GHz要多出许多。
5GHz频段
但是5GHz的穿墙能力比2.4Ghz要弱一些,一般的说法是由于电磁波的物理特征决定的,波长越长衰减越小,同时有利于绕过障碍物继续传播。5G频段凭借频率较高的优点,可以携带更多的数据,但是波长短,因此5GHz穿越障碍物时衰减更大。当然你这么理解也没什么问题,但是我们有更加科学的解释方法。
2.4GHz和5GHz频段的电磁波主要传播方式都是直线传播,在碰到障碍物时会产生穿透、反射、衍射等多种现象,其中穿透是主要现象,只有小部分的信号会发生反射和衍射。然而电磁波信号在穿透障碍物时会损失大量的能量,有时候尚未穿透障碍物,能量就已经消耗殆尽,结果接收端收到的是通过反射和衍射而来信号,简单来说就是绕过了障碍物的信号。
5GHz频段的电磁波比2.4GHz频段电磁波有更强的穿透力,但相比之下反射和衍射的能力就不如后者了。当两种频段的电磁波在碰到障碍物的时候,5GHz信号几乎全部能量都会用在穿透上,而2.4GHz信号则有部分会产生反射和衍射,绕过了障碍物继续传播。因此5GHz信号虽然选择了路程最短的传输路径,但是在传输过程中的会有很大的能量损失,2.4GHz信号走得路径会更长一些,但是保留下来的能量却更多,在我们看来就是信号强度更强了。
总而言之,如果路由器和设备隔着一堵比较厚的墙,可能5GHz频段的信号就已经很弱了,2.4GHz频段则可以正常使用。如果隔着两堵墙的话可能2.4GHz频段尚可勉强使用,但是5GHz可能就搜不到信号了。
图片来源:小米商城路由器介绍页面
在2.4GHz和5GHz频段都可以正常使用的情况下5GHz频段的表现会更好。前面说了5GHz频段的频率更高,所以可以携带更多的信息,并且由于网络环境比较好,所以可以提供带宽更大且更稳定的网络。而2.4GHz频段因为频率较低,并且目前使用2.4GHz频段的设备比较多,许多双频路由器也会同时使用2.4GHz频段和5GHz频段,所以如果周人使用2.4GHz频段的人比较多,那么网络的稳定性就会比较差,再加上2.4GHz的穿墙性能比较好,所以在公寓等使用场景当中网络干扰会比较多。这段话说简单点就是在下载、流媒体、语音和在线游戏的时候使用5GHz频段体验更好。
图片来源:TP-Link官网
总结以上内容,5GHz频段无线环境比较好,网速稳定,并且可以支持更高的速率;2.4GHz频段无线环境比较差,如果周围设备过多可能网速不太稳定,但是可以覆盖更远的距离。
具体使用场景方面,如果你对手机和电脑等设备的网络要求不高,那么2.4GHz频段已经完全够用,而且对于物联网设备例如冰箱、台灯等设备来说2.4GHz频段也十分够用了;但如果你需要播放4K视频,或者对网络电话的通话质量以及比较喜欢玩在线游戏的话,还是建议使用5GHz频段。
如果你的路由器就放在卧室,对穿墙等方面没有需求的话5GHz频段会更好,而如果室内面积比较大,需要覆盖更多房间的话2.4GHz频段更实用。但如果你需要同时满足覆盖面积和网络质量两种需求的话,就需要考虑多路由方案了。
图片来源:小米商城路由器介绍页面
不过目前双频路由器都会同时支持5GHz频段和2.4GHz频段,所以在购买路由器的时候其实不用很纠结,而且根据现在的实际情况来说,其实网络本身的情况对用户的影响体验会更大。








发表评论
◎欢迎参与讨论,请在这里发表您的看法、交流您的观点。